留言板

尊敬的读者、作者、审稿人, 关于本刊的投稿、审稿、编辑和出版的任何问题, 您可以本页添加留言。我们将尽快给您答复。谢谢您的支持!

姓名
邮箱
手机号码
标题
留言内容
验证码

南秦岭汉阴北部金矿田控矿要素研究及找矿方向建议

高雅宁 杨兴科 杨龙伟 韩珂

高雅宁, 杨兴科, 杨龙伟, 等, 2016. 南秦岭汉阴北部金矿田控矿要素研究及找矿方向建议. 地质力学学报, 22 (2): 245-255.
引用本文: 高雅宁, 杨兴科, 杨龙伟, 等, 2016. 南秦岭汉阴北部金矿田控矿要素研究及找矿方向建议. 地质力学学报, 22 (2): 245-255.
GAO Ya-ning, YANG Xing-ke, YANG Long-wei, et al., 2016. STUDY ON ORE-CONTROLLING FACTORS AND MINE EXPLORATION PROPOSAL OF THE GOLD ORE FIELD IN NORTH HANYIN, SOUTH QINLING. Journal of Geomechanics, 22 (2): 245-255.
Citation: GAO Ya-ning, YANG Xing-ke, YANG Long-wei, et al., 2016. STUDY ON ORE-CONTROLLING FACTORS AND MINE EXPLORATION PROPOSAL OF THE GOLD ORE FIELD IN NORTH HANYIN, SOUTH QINLING. Journal of Geomechanics, 22 (2): 245-255.

南秦岭汉阴北部金矿田控矿要素研究及找矿方向建议

基金项目: 

中国地质调查局地质调查项目"陕西石泉—旬阳金矿整装勘查区关键基础地质研究" 12120114014201

陕西省自然科学基金项目 2016JM4001

详细信息
    作者简介:

    高雅宁(1984-), 男, 陕西榆林人, 博士研究生, 研究方向为矿产普查与勘探。E-mail:gaoyaning2000@163.com

  • 中图分类号: P618.51

STUDY ON ORE-CONTROLLING FACTORS AND MINE EXPLORATION PROPOSAL OF THE GOLD ORE FIELD IN NORTH HANYIN, SOUTH QINLING

  • 摘要: 选取南秦岭汉阴北部金矿田内黄龙、长沟和金斗坡典型矿区为研究区,通过野外大比例尺构造-岩相填图、剖面实测、综合编图等工作,结合前人研究成果,查明了金矿田的控矿要素,并指出了有利的找矿勘探方向。综合研究表明,汉阴北部金矿田的矿化严格受控于志留系梅子垭组的不同岩性段;脆-韧性剪切带控制了矿床的空间分布,次级断层控制矿体产出的具体部位;S2面理对金矿化有显著的制约作用;促使石榴子石和黑云母变斑晶发育的热变质作用能够引起原始岩层中金元素发生活化,且热变质作用的晚期为退变质期,退变质期的适宜温度有利于金元素富集成矿。矿田内的金矿勘探应重点选在脆-韧性剪切带内,尤其针对不同岩性的接触面、次级断层面附近、石榴子石与黑云母变斑晶密集发育区周缘等区域,矿体追索方向应依照S2面理的空间优势展布方向。

     

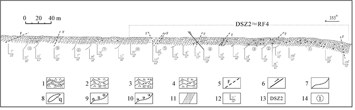
  • 图  1  南秦岭汉阴北部金矿田区域地质图(据文献[8~11]修编)

    Figure  1.  Regional geological map of gold ore field in North Hanyin, South Qinling

    图  2  黄龙矿区平硐864实测剖面图

    1—变石英砂岩;2—绢云母石英片岩;3—含黑云母变斑晶绢云石英片岩;4—含炭、黑云母变斑晶绢云石英片岩;5—性质不明断层;6—逆断层;7—岩层界线;8—石英脉;9—黄铁矿化;10—褐铁矿化;11—Au矿化体;12—片岩S2面理产状及断层面产状;13—脆-韧性剪切带及编号;14—剖面分层号

    Figure  2.  Measured geologic section of 864 Adit in Huanglong gold deposit

    图  3  长沟矿区28勘探线剖面图

    1—变石英砂岩;2—绢云母石英片岩;3—含黑云母变斑晶绢云石英片岩;4—含炭、黑云母变斑晶绢云石英片岩;5—含石榴子石绢云石英片岩;6—断层破碎带;7—花岗闪长岩脉;8—石英脉;9—黄铁矿化;10—褐铁矿化;11—Au矿化;12—片岩S2面理产状及岩脉产状;13—脆-韧性剪切带及编号;14—钻孔及编号

    Figure  3.  Geologic section of No.28 exploration line in Changgou gold deposit

    图  4  金斗坡矿区面理置换现象

    a—S1被S2置换;b—S2被S3置换(黑云母变斑晶Bit沿S2片理定向排列)

    Figure  4.  The exchange of structural foliation in Jindoupo mine area

    图  5  黄龙金矿金沟矿段465中段矿体与S2面理展布特征

    1—勘探线及编号;2—坑探工程;3—矿体大致边界;4—平移断层;5—S2面理;6—S2面理产状;7—产状;8—钻孔及编号;Ⅰ—平移断层内黄钾铁矾化;Ⅱ—顺S2面理发育黄铁矿(Py)细脉;Ⅲ—S2褶曲变形强烈,其产状发生偏转;Ⅳ—S3面理(劈理)截切S2面理

    Figure  5.  Characteristics of the ore-bodies and S2 structural foliation in the middle part of 465 in Jingou section, Huanglong gold deposit

    图  6  金斗坡矿区S2面理展布方向与金矿(化)体分布特征

    1—S2面理展布方向;2—金矿体;3—矿化带;4—S2面理产状;5—含石榴子石密集带;6—梅子垭组变质岩

    Figure  6.  Direction of S2 structural foliation and distribution characteristics of ore-bodies in Jindoupo area

    图  7  长沟矿区S2面理展布方向与金矿体分布特征

    1—S2面理展布方向;2—金矿体;3—强变形带;4—S2面理产状;5—含石榴子石密集带;6—石英脉或透镜体;7—梅子垭组变质岩

    Figure  7.  Direction of S2 structural foliation and distribution characteristics of ore-bodies in Changgou area

    图  8  金斗坡矿区石榴子石-黑云母共生矿物组合显微照片(Gar为石榴子石,Bi为黑云母)

    The micrograph of biotite-garnet in Jindoupo gold deposit

    Figure  8.  Direction of S2 structural foliation and distribution characteristics of ore-bodies in Changgou area

    表  1  典型金矿区矿体特征

    Table  1.   Characteristics of ore-bodies in the typical gold mine areas

    矿区 矿体编号 矿体形态 矿体长度/m 矿体厚度/m 平均品位/10-6 矿体产状 主要矿石类型
    金斗坡 K1 透镜状 500 1.00~2.97 1.30 280°—330°∠29°—43° 黑云母变斑晶绢云石英片岩含炭绢云石英片岩
    K2 似层状 250 1.90~2.74 1.18
    K3 似层状 250 1.90~3.95 1.13
    黄龙 似层状 150 1.00~6.31 5.60 5°—22°∠20°—55° 黑云母变斑晶绢云石英片岩含炭绢云石英片岩
    似层状 500 0.80~7.14 3.15
    Ⅷ-1 似层状 200 0.97~1.84 4.01
    长沟 K1 似层状 460 0.85~3.80 1.54 190°—220°∠35°—55° 黑云母变斑晶绢云石英片岩含炭绢云石英片岩夹变石英砂岩含金石英脉
    K2 似层状 190 0.95~4.45 1.52
    K4 似层状 1100 0.85~4.35 2.60 15°—35°∠40°—70°
    注:部分资料据文献[10]
    下载: 导出CSV

    表  2  不同类型变质作用阶段划分及矿物生长序列[7]

    Table  2.   Dividing of different phases on metamorphism and the order of mineral development

  • [1] 吕古贤, 李秀章, 张迎春, 等.矿田地质学的研究和发展问题[J].地质与勘探, 2012, 48(6):1143~1150. http://www.cnki.com.cn/Article/CJFDTOTAL-DZKT201206012.htm

    LV Gu-xian, LI Xiu-zhang, ZHANG Ying-chun, et al. Research and development of ore field geology[J]. Geology and Exploration, 2011, 48(6): 1143~1150. http://www.cnki.com.cn/Article/CJFDTOTAL-DZKT201206012.htm
    [2] 吴淦国, 吕承训.矿田构造的研究历史, 现状与发展[J].地质通报, 2011, 31(4):461~468. http://www.cnki.com.cn/Article/CJFDTOTAL-ZQYD201104003.htm

    WU Gan-guo, LV Cheng-xun. Research history, present situation and development of ore field structure study[J]. Geological Bulletin of China, 2011, 30(4): 461~468. http://www.cnki.com.cn/Article/CJFDTOTAL-ZQYD201104003.htm
    [3] 刘林, 吴景平, 杨译, 等.陕西石泉—汉阴北部下志留统黑色岩系中的金矿床[J].地质与资源, 2011, 20(4):304~309. http://www.cnki.com.cn/Article/CJFDTOTAL-GJSD201104020.htm

    LIU Lin, WU Jing-ping, YANG Yi, et al. Gold deposit in the Lower Silurian black series in northern Shiquan-Hanyin, Shaanxi Province[J]. Geology and Resources, 2011, 20(4): 304~309. http://www.cnki.com.cn/Article/CJFDTOTAL-GJSD201104020.htm
    [4] 李福让, 侯俊富, 杨弘, 等.陕西石泉县羊坪湾金矿床地质-地球化学特征及金的富集规律[J].中国地质, 2009, 36(1):174~182. http://www.cnki.com.cn/Article/CJFDTOTAL-DIZI200901019.htm

    LI Fu-rang, HOU Jun-fu, YANG Hong, et al. Geological and geochemical characteristics and gold enrichment regularity of the Yangpingwan gold deposit in Shiquan, Shaanxi Province[J]. Geology in China, 2009, 36(1): 174~182. http://www.cnki.com.cn/Article/CJFDTOTAL-DIZI200901019.htm
    [5] 唐永忠, 杨兴科, 张宝荣, 等.南秦岭造山带安康石梯—旬阳神河早古生代热水沉积盆地构造-沉积相与热水聚矿特征[J].中国地质, 2012, 39(5):1261~1270. http://www.cnki.com.cn/Article/CJFDTOTAL-DIZI201205012.htm

    TANG Yong-zhong, YANG Xing-ke, ZHANG Bao-rong, et al. Structure-sedimentary facies and hydrothermal mineralization characteristics of Shiti (in Ankang)-Shenhe (in Xunyang) Early Paleozoic hydrothermal basin in Qinling orogenic belt[J]. Chinese Geology, 2012, 39(5): 1261~1270. http://www.cnki.com.cn/Article/CJFDTOTAL-DIZI201205012.htm
    [6] 杜坚.安康北部志留系金矿地质特征及找矿前景探讨[J].中国矿山工程, 2014, 43(5):39~43. http://www.cnki.com.cn/Article/CJFDTOTAL-YSKS201405012.htm

    DU Jian. Discussion on the geological characteristics and prospecting potential of Silurian gold-bearing in north Ankang[J]. China Mine Engineering, 2014, 43(5): 39~43. http://www.cnki.com.cn/Article/CJFDTOTAL-YSKS201405012.htm
    [7] 张康. 南秦岭汉阴北部志留系金矿田构造控矿规律及找矿标志研究[D]. 西安: 长安大学, 2012.

    ZHANG Kang. Ore-controlling rules and prospecting indicator of Silurian gold deposit in North Hanyin, South Qinling[D]. Xi'an: Chang'an University, 2012.
    [8] 张国伟, 张宗清, 董云鹏, 等.秦岭造山带主要构造岩石地层单元的构造性质及其大地构造意义[J].岩石学报, 2009, 11(2):101~114. http://www.cnki.com.cn/Article/CJFDTOTAL-YSXB199502000.htm

    ZHANG Guo-wei, ZHANG Zong-qing, DONG Yun-peng, et al. Nature of main tectono-lithostratigraphic units of the Qinling orogen: Implications for the tectonic evolution[J]. Acta Petrologica Sinica, 1995, 11(2): 101~114. http://www.cnki.com.cn/Article/CJFDTOTAL-YSXB199502000.htm
    [9] 杨兴科, 何虎军, 张康, 等. 陕西安康汉阴县铁佛寺—汉滨区流芳志留系金矿田构造及快速评价勘查方法[R]. 西安: 长安大学, 2012.

    YANG Xing-ke, HE Hu-jun, ZHANG Kang, et al. Geologic structure of Silurian gold ore-field and instant method of assessment in Tiefosi, Hanyin-Liufang, Hanbin, in Ankang, Shaanxi Province[R]. Xi'an: Chang'an University, 2012.
    [10] 吴闻人, 王北颖. 陕西省南秦岭造山带中部韧性剪切带的形成、演化及其与金矿成矿关系研究[R]. 西安: 陕西省地矿局, 1991.

    WU Wen-ren, WANG Bei-ying. Formation and development of ductile shear belt in the middle of South Qinling orogenic belt, Shaanxi Province and its relation to gold mineralization[R]. Xi'an: Geology and Mineral Resources Bureau of Shaanxi, 1991.
    [11] 李会民.石泉—汉阴北部金矿带地质特征[J].陕西地质, 1997, 15(2):48~57. http://www.cnki.com.cn/Article/CJFDTOTAL-SXDY199702005.htm

    LI Hui-min. The geological characteristics of gold deposit belt in the northern Shiquan-Hanyin, Shaanxi[J]. Geology of Shaanxi, 15(2): 48~57. http://www.cnki.com.cn/Article/CJFDTOTAL-SXDY199702005.htm
    [12] 徐开礼, 朱志澄.构造地质学[M].北京:地质出版社, 1987:1~200.

    XU Kai-li, ZHU Zhi-cheng. Structural geology[M]. Beijing: Geological Publishing House, 1987: 1~200.
    [13] 周喜文, 魏春景, 卢良兆.高温变泥质岩石中石榴石-黑云母地质温度计的应用——以胶北荆山群富铝岩石为例[J].地学前缘, 2004, 10(4):353~363. http://www.cnki.com.cn/Article/CJFDTOTAL-DXQY200304005.htm

    ZHONG Xi-wen, WEI Chun-jing, LU Liang-zhao, et al. Application of the garnet-biotite geothermometer in high grade metapelite: Al-rich rock from the Jingshan Group in north Jiaodong, China[J]. Earth Science Frontiers, 2003, 10(4): 353~363. http://www.cnki.com.cn/Article/CJFDTOTAL-DXQY200304005.htm
    [14] 吴春明, 陈泓旭.变质作用温度与压力极限值的估算方法[J].岩石学报, 2013, 29(5):1499~1510. http://www.cnki.com.cn/Article/CJFDTOTAL-YSXB201305006.htm

    WU Chun-ming, CHEN Hong-xu. Estimation of minimum or maximum pressure or temperature conditions in metamorphic rocks[J]. Acta Petrologica Sinica, 2013, 29(5): 1499~1510. http://www.cnki.com.cn/Article/CJFDTOTAL-YSXB201305006.htm
    [15] 何德锋, 钟宏, 朱维光.石榴石-黑云母地质温度计在四川拉拉铜矿床的应用[J].矿物学报, 2008, 28(2):127~134. http://www.cnki.com.cn/Article/CJFDTOTAL-KWXB200802004.htm

    HE De-feng, ZHONG Hong, ZHU Wei-guang. Appication of the garnet-biotite geothermometer in the Lala copper deposit, Sichuan Province[J]. Acta Mineralogica Sinica, 2008, 28(2): 127~134. http://www.cnki.com.cn/Article/CJFDTOTAL-KWXB200802004.htm
    [16] Perchuk L L. Thermodynamical control of metamorphic processes[C]//Saxena S K, Bhattacharji S. Energetics of geological processes. New York: Springer-Verlag, 1977: 285~352.
    [17] JIAO Jian-gang, YANG Xing-ke, QIU Dong-dong, et al. Report on Silurian structure-lithofacies mapping and metallogenic regularity of gold deposit in Shiquan County, Shaanxi[J]. Xi'an: Chang'an University, 2014.
    [18] 王友文, 李兴柱, 阎竹斌, 等.中国金矿地质及普查勘探方法[M].西安:陕西地质矿产局, 1987:56~59.

    WANG You-wen, LI Xing-zhu, YAN Zhu-bin, et al. Method of investigation and exploration on Chinese gold mines[M]. Xi'an: Shaanxi Bureau of Geology and Mineral Resources, 1987: 56~59.
    [19] 隗合明. 安康北部志留系岩金矿品位指标研究论证报告[R]. 西安: 长安大学, 2006.

    WEI He-ming. Research report of Silurian gold grade index in north Ankang[R]. Xi'an: Chang'an University, 2006.
    [20] 任小华, 高航, 李福让, 等.羊坪湾金矿地质特征及成矿模式[J].西北地质, 2015, 48(1):127~136. http://www.cnki.com.cn/Article/CJFDTOTAL-XBDI201501017.htm

    REN Xiao-hua, GAO Hang, LI Fu-rang, et al. Geological features and metallogenic model of Yangpingwan gold deposit[J]. Northwestern Geology, 2015, 48(1): 127~136. http://www.cnki.com.cn/Article/CJFDTOTAL-XBDI201501017.htm
    [21] 高怀雄, 李卫波, 许锋, 等. 陕西石泉—旬阳金矿成矿规律研究与矿产资源预测[R]. 西安: 陕西省地质调查中心, 2016.

    GAO Huai-xiong, LI Wei-bo, XU Feng, et al. Research on gold metallogy and prediction of mineral resources in Shiquan-Xunyang area, Shaanxi[R]. Xi'an: Geological Survey Center of Shaanxi Province, 2016.
    [22] 赵进江, 刘洪祺, 杨鹏, 等.陕西省汉阴县长沟金矿地质和地球化学特征[J].科技信息, 2013, 23:399~401. doi: 10.3969/j.issn.1001-9960.2013.21.320

    ZHAO Jin-jiang, LIU Hong-qi, YANG Peng, et al. Alteration and geochemical features of Changgou gold ore in Hanyin County, Shaanxi Province[J]. Science and Technology Information, 2013, 23: 399~401. doi: 10.3969/j.issn.1001-9960.2013.21.320
  • 加载中
图(8) / 表(2)
计量
  • 文章访问数:  441
  • HTML全文浏览量:  286
  • PDF下载量:  36
  • 被引次数: 0
出版历程
  • 收稿日期:  2015-10-12
  • 刊出日期:  2016-06-01

目录

    /

    返回文章
    返回